Cat 3406b Fuel Line Diagram
Call our technical support line and we'll find it for you.
Cat 3406b fuel line diagram. Ipd parts for caterpillarĀ® g3406 engines. Advanced high efficiency fuel and oil filters are the preferred maintenance option for superior contamination control. Caterpillar 3406, 3406b, 3406c, 3406e key engine specs and bolt torques and manuals at barrington diesel club. Engine spq ea 1 1 ea 1 1 ea 1 1 ea 1 1 ea 1 1 ea 1 1 injectors table 79:
I have a 3406b cat engine and i'm trying to remove the front cover i have all the bolt that i can see of but it still seems like it is a 3406b cat. CaterpillarĀ® 3406c dita turbocharged diesel engine. Fuel injection line assembly (no. It says 3406 economy on the engine.
Engine bearings and bushings continued. Cat 3406e fan input circuit. Remove two bolts (4) that fasten the fuel transfer pump to the governor drive housing. A feed pump outlet, and pump inlet have been added to the 2010 model supply pump to inhibit air mixing.
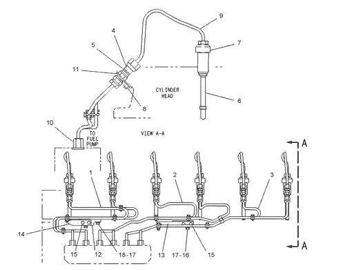
Cat 3406b fuel injector line price: (used) cat 3406b cat 3406b, complete fuel line set. Side of the 3406e caterpillar engine diagram online library 3406e caterpillar engine diagram 3406e caterpillar engine diagram how to change your vehicle s serpentine belt tensioner and idler pulley proper belt tension is critical keep your vehicle running smoothly how to troubleshoot cat fuel. Caterpillar 246c shematics electrical wiring diagram.pdf.
Check fuel tanks and lines for foreign objects that may block fuel supply. Fuel injection line assembly (no. Old nozzles grow and allow for more fuel to go thru on each injection stroke. I've heard them all refered to as red line what are you looking for?
Also we repair fuel equipment (fuel pump and injectors), we perform turbocharger testing and, if necessary, repair. Illustration 2, 3406c wiring diagram. 3406b's have narrow rod brgs, aluminum pistons, weak timing advances, slow rate in the fuel pump. What does the oil do in the pump.
At the beginning of the repair of the caterpillar cat engine, it is cleaned of combustible lubricants. Cat c15 fuel line diagram. Cat 3126 ewd wiring diagrams.pdf. I was wondering was the redline on rpm's is.
Forums > the garage > trucks [ eighteen wheelers ] >. In this know your engine series episode we will be discussing the cat 3406b engine. 8n7003 fuel system components description. Cat 3406 marine electrical diagram.
Pdf free caterpillar 3406 engine diagram manual pdf pdf file. Cat 3406 engine parts manual.pdf. Contact us for information regarding shipping quotes. 1990 cat 3406b power generation enterprises inc.
Any thoughts will be greatly appreciated. I already checked the fuel line to the injectors. Fuel lines for caterpillar 3406 diesel engines. Cat 3406b complete fuel line set.
3406b f7b sn number for block do you have a oil diagram for the fuel pump? Then the specialist starts to disassemble the engine. Ipd parts for caterpillarĀ® g3406 engines. Finding it difficult to choose the correct fuel line for your 3406 series engine?
Circuit globe power systemssingle line diagram of power supply system. A/r narrow journal crankshaft (1.535 wide). Cat 3406 bolt torque and specifications with links to manuals. Extensive coverage, innovative ideas, quality products and aggressive product.
Related searches for cat 3406e engine diagram cat 3406 engine parts diagramcat 3406e ecm pin outcaterpillar 3406 engine manualcat 3406e ecm wiring diagramcaterpillar 3406e ecm wiring diagrams3406e ecm 40 pin diagramcaterpillar 3406 parts manualcaterpillar model 3406 generator. A superhot 3406b may be neat for a while, but how many pistons can you afford to burn till you get it set right? Troubleshooting the caterpillar 3116 fuel system.docx.














