Audi A4 Cooling System
Coolant the purpose of the coolant is to carry heat away from the engine.
Audi a4 cooling system. +00016 = rear lid release locking at 5 km/h. When your audi engine coolant level is low, you will get a warning on the dashboard that shows the do not open the radiator or coolant expansion cap when the engine is hot. +00004 = selective central locking (scl). We believe in helping you find the product that is looking for something more?
Замена двигателя adr на apt на audi a4 b5 (8d) 1995г.в. A wide variety of audi cooling system options are available to you, such as radiator, water pump, and fan. If the cooling system in your audi b6a4 is getting whistled for double dribble, it's time to address the most common causes of cooling system leaks in 1.8t we have three new kits, all designed to stop pesky cooling system problems. I bought my car used with a new engine installed from a trusted family friend.and im a noob to the audi world.
It replaces your stock air box, which allows you to pull cold air from outside of the warm engine compartment, thus increasing its performance. Aliexpress carries many audi a4 cooling system related products, including audi coolant tank , coolant tank , hose. We offer audi a4 cooling performance for the following years & trims ✅ free delivery and free returns on ebay plus items!
I have a 99 a4 1.8t and i constantly (every few weeks) have to add coolent to the tank, is it a leak or is my engine burning it off? Audi cooling system parts online. Yesterday the engine light came on. The system features a large, high efficiency heat exchanger located at the front of the car, an additional reservoir that holds over a gallon of coolant and a high flow pump which runs complementary to the factory pump.
Get the best deal for cooling system parts for audi a1 from the largest online selection at ebay.com. Benefits + large selection of engines + keeping on track + ergonomics + sound is the distribution system for these engines is very expensive and even the nozzles are not cheap. Buy oem & genuine parts with a lifetime warranty, free shipping and unlimited 365 day returns. Save money by doing your own work and perform the repairs using the information we've provided here.
Showing 20 of 1088 results. ✅ browse our daily deals for even more savings! Audi a4 cooling sensors, switches & relays. Two months ago i have poured generic coolant on my 2007 audi a 4.
You'll receive email and feed alerts when new items arrive. Фотоотчет данный двигатель устанавливался на автомобили: 1,179 audi cooling system products are offered for sale by suppliers on alibaba.com, of which other auto cooling system accounts for 8%, radiator accounts for 5%. Ping us if you have anything cool to share on the latest cars or how to make older cars more efficient, or just.
Prevent the cooling system from freezing in winter. Popular audi a4 cooling system of good quality and at affordable prices you can buy on aliexpress. Unfollow 2002 audi a4 cooling to stop getting updates on your ebay feed. We've gathered a vast collection of useful articles to help you perform many repairs and upgrades on your audi a4.
+00064 = comfort function via remote control (not usa). How to super flush your cars cooling system. Cooling fan module by gates®. If you want maximum speed and power, keeping your engine temperatures minimized is crucial.
Not compatible with s4 or s5's equipped with audi dynamic steering. I have an audi a4 quattro turbo model from 2002, and i've been having a lot of problems with the heating/cooling system. Cooling system performance 1 answer. Audi a4 (8d), audi a8 (4d), audi a80 (8c).
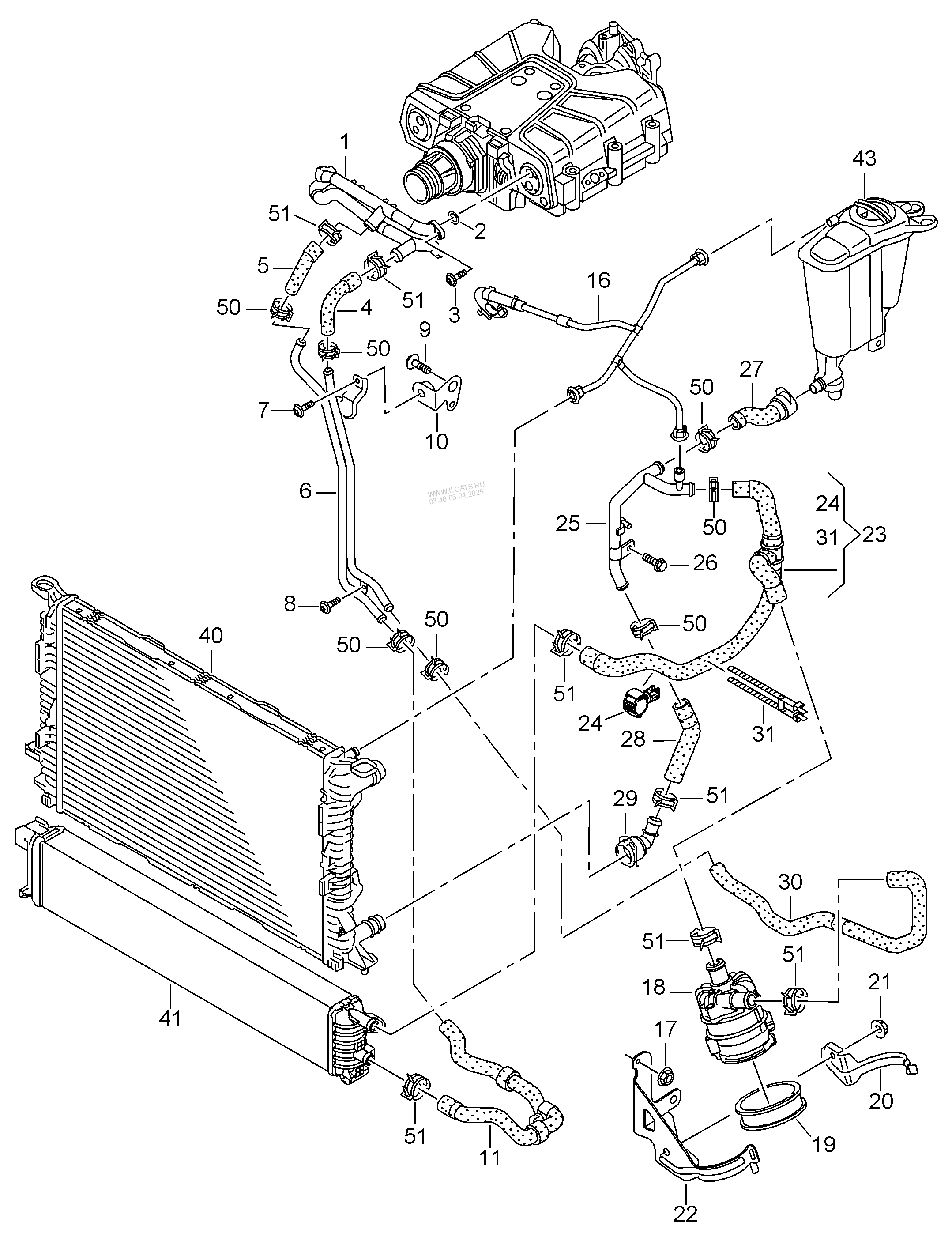
Stage 1, 2, and 3 kits include fixes for the usual suspects, all related. Welcome to our audi a4 technical article directory. The cooling system is filled for life at the factory, so the coolant does. Oil in the cooling system audi a4 1.8 20v over heating fault if oil is in the cooling system you have a cracked head or a bad head gasket.


















