John Deere D110 Throttle Linkage Diagram
24.03.2013 · john deere 102 tryng to figure out how main throttle linkage hooks to throttle plate (rod with long u bend) same problem as guy on here had earlier.
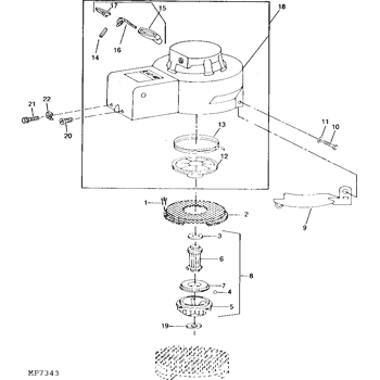
John deere d110 throttle linkage diagram. John deere offers a range of technical and operator publications and training. See your john deere dealer with. This john deere service manual is compatible with all pc and mac systems and is also easy to use on any smartphone, such as android or iphone. Click the link and scroll down in the left column until you find the heading for replacing the belt.
Find your owner's manual and service information. Don't wait until you need warranty or other service to meet your local john deere engine distributor or service dealer. Front wheel bearing replacement update. The illustrated diagrams and troubleshooting information are of a general nature;
Push throttle lever (a) up to full throttle position. Illustrated factory technical manual for john deere lawn tractors models d100, d105, d110, d120, d125, d130, d140, d150, d155, d160, and d170 this manual contains high quality images, circuit diagrams, instructions to help you to maintenance, troublesho / truck service manual store. Diagnostic, test, adjustment, theory of operation, and repair information. John deere 100 series 42 mower deck parts rebuild kit spindles assemblies blades idler pulleys belt.
- 2000 Jeep Grand Cherokee Interior Fuse Box Diagram
- 2001 Chevy Blazer Vacuum Diagram
- 1998 Ford Ranger Fuse Panel Diagram
Discover the key facts and see how john deere d110 performs in the lawn mower ranking. Actually, we have been noticed that john deere d140 parts diagram is being just about the most popular subject right now. The mower deck has the superior cut quality and is ready to side discharge, and easily equipped to mulch or bag. John deere parts catalog download.
John deere lawn mowers operator's manual pdf. Engage attachment engagement switch (b) and allow mower to run for 10 seconds. Control unit spn fmi pri. John deere 110 parts (1).
Final design of the overall system for your engine. John deere tractors, combines & lawn mowers service repair manuals, wiring diagrams, fault codes list; John deere tractor's & combines service repair manuals pdf. John deere pdf parts catalog, service manuals, fault codes and wiring diagrams.
Illustrated diagrams included in the john deere service manual pdf. John deere lawn tractor parts. John deere диагностические коды неисправностей. The names cat, caterpillar, john deere, komatsu, volvo, hitachi, doosan, jcb, hyundai or any other original equipment manufacturers are registered trademarks of the respective original equipment.
I have found the manual at jd's website. Offer valid at participating john deere dealers in the united states and johndeerestore.com. Fuel diagnostics guide for john deere 8400. There is one small wire linkage between the governor arm and the carburetor throttle shaft.
2.8 out of 5 stars from 41 genuine reviews on australia's largest opinion site productreview.com.au. For example the operator's manual, parts diagram, reference guides, safety info, etc. John deere dealers the changes listed below make your ctm obsolete. If you have trouble sourcing these sensors locally, they are stocked by competition.
Home > lawn mower comparison > john deere d110. John deere wheels, john deere belts, john deere blades, sunbelt blades, electrical parts, john deere keys, john deere tires, john deere starters, john see participating john deere dealer for details. The john deere d110 has a top speed is up to 5.5 mph. The dbw model is designed for use with penny & giles tps280dp or variohm euro xps family of sensors.
Question about john deere d110 42 in. • always follow all safety procedures posted on the machine and in this operator manual. I am running it without this spring and it seems to work okay. 4.4 out of 5 stars 86.
With only 53 hours work the john deere d110 blown head gasket was very disappointing and costly. A wiring diagram and diagnozing malfunctions are included in this group to assist you in under. A00 110 03 2 engine coolant temperature sensor voltage is out of range high. D100, d110, d120, d130, d140, d150, d160, d170.
Operator's manual, john deere, worldwide commercial & consumer equipment division • read online or download pdf • john deere g x23532. A00 91 09 3 throttle input not valid or not received.

















