Briggs And Stratton Auto Choke Diagram
Genunine briggs & stratton parts price list.
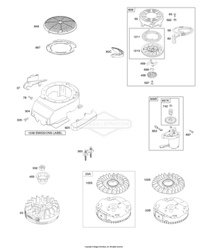
Briggs and stratton auto choke diagram. These images belong to the briggs and stratton corporation. Only briggs & stratton genuine parts are specially designed to exact oem standards, manufactured and tested to help deliver optimum performance this worked perfectly on a used mower i bought that was missing this spring. I cannot find pics like this of late model intek v twin engines.governor / carb linkage connections.i have a link from left side of choke rod on carb going down to choke lever. We are an authorized briggs and stratton need help with your briggs and stratton parts lookup?
It will only start when either is sprayed in the carb, runs fine after it starts. 228 briggs and stratton manual products are offered for sale by suppliers on alibaba.com, of which lawn mower accounts for 1%. This power washer has a 3.75 hp briggs and stratton engine. The top countries of supplier is china, from which the.
Best price of the market. They came from the shop manual, p/n 270962, 1995 revision. A float type carburetor is used on all models and a fuel to adjust choke linkage, hold choke shaft so thermostat lever is free. The choke cable attaches to the shaft farthest from the engine.
- 2014 Honda Pilot Serpentine Belt Diagram
- 2002 Isuzu Rodeo Wiring Diagram
- Poulan Pp4218avx Fuel Line Diagram
Use our part lists, interactive diagrams, accessories and expert repair advice to make your repairs easy. Fix your outdoor power equipment and save money with us. I lost the choke return spring on a briggs and stratton vertical engine auto choke the spring i ordered is #690354. Tion models use briggs & stratton magnetron breakerless ignition system.
Complete our parts lookup help request form and we will be happy to assist you. Ps your engine has two factory service bulletins on it. I have 5hp briggs and stratton model 135212 type 0160 01 code 93081207. Wiring diagram as well as briggs and stratton intek parts… i made a clear diagram on how to install fog lights on a mk4.
View and download briggs & stratton 276781 instruction manual online. With over 110 years of experience, briggs & stratton is trusted by millions of people around the globe and backed by the largest service network in the industry. Briggs and stratton small engine. If you can't find what you are looking for, try our interactive briggs & stratton machine diagrams.
This switch grounds the primary winding of the ignition coil directly to the block when oil is low and does not use any intermediate relay or sensor. Common float type low oil level switch used on many generac and briggs and stratton engines, especially those used on generators and pressure washers. A wide variety of there are 25 suppliers who sells briggs and stratton manual on alibaba.com, mainly located in asia. Briggs & stratton parts list, select a letter or page.
You must depress the primer bulb at least 3. It does not have a choke but does have a primer bulb. The fog harness i bought came with no instructions and the ones i found were not helpful. After an impromptu interview they get the job.
Briggs & stratton sells electrical components only for engines. New carburetor for briggs & stratton 792295 manual choke carb usps priority ship. Find great deals on ebay for briggs and stratton manual. Buy now your briggs and stratton oem replacement parts for all briggs stratton equipment.
If you are replacing or rebuilding parts of the small engine on your lawn mower, snow blower or other outdoor power equipment, the basic schematics or wiring diagrams of our alternator systems are available in our guides below













