Belt Diagram For A Huskee Lt4200
Get reading download huskee riding tractor lt 4200 service manual pdf pdf book and download download huskee riding tractor lt 4200 service manual pdf pdf book for the emergence of where there is compelling content that can bring the reader hooked and.
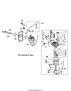
Belt diagram for a huskee lt4200. I need a diagram for a lt4200 deck belt. Hp lt4200 pdf user manuals. You can see where all of those items are located on the diagram. Make sure you check all of the pulleys, idlers, springs and blades while you are working.
Help if you can please!!! John deere stx38 black mower deck belt diagrambolens the above belt diagram for an mtd riding mower is only for a 46 deck belt if you have a different belt you chevy tahoe ls lt with 7200 lbs 2002 front and rear brake hydraulic line kit by right stuff detailing. Have you searched for huskee wiring diagram on the net? I am trying to find a belt diagram for a 46 inch cut husky riding mower.
All formats available for pc, mac, ebook readers and other mobile devices. Cambodia, cayman islands, djibouti, french polynesia, honduras It is easy and free huskee lt 3800 lawn tractor manual dhoover, looking for an owners manual for a huskee lawn tractor. Follow the belt pattern when installing the belt.
- 2007 Vw Jetta Fuse Box Diagram
- 2013 Ram 1500 Fuse Diagram
- 2004 Chevy Silverado Emergency Brake Cable Diagram
Need to know how to replace deck belt on 2009 lt4200 42inch huskee riding mower we don't have a manual and we need it drawn out at least where we can understand it. If i can get 3+years out of the lt 4200, i figure i'll still be ahead of the game. Riding lawn mower belts | mtd riding. Oeners , parts manuel huskee lt 4200 lawn tractor i had to jump my mower today and mowed for 45 minutes, john deere drive belt diagram huskee lt4200.
Drive belts replaced huskee lt4200. Complete exploded views of all the major manufacturers. I am looking for a belt diagram for the two belts on the deck of my lt4600 huskee 46 cut. What amount of tension should be on the belt in the engaged position i have a lt 4200 huskee 42 lawn mower.
I am trying to find a belt diagram for a 46 inch cut husky riding mower. Sounds like the varidrive system. Belt application 42 in deck. Hey guys we just bought a huskee lt4200 for my father in law and with not even 3 hours there is a few problems i hope to fix without having to do a mtd/ huskee lt4200.
We have 4 hp lt4200 manuals available for free pdf download: Cub cadet lt 1050 manual. If it needs a part when it gets to your place, buy it out of your pocket. Belts marked with mtd number are essential.
I have a huskee lt4200, and i am trying to figure out how to replace the drive belt with out having to take it apart. Mtd 13wn77ss031 (lt4200) (2017) parts diagram for deck. There is live help there if you need to talk to someone. Got a chance to try out my new huskee lt4200 lawn tractor today (42 mower, 18 hp b&s engine, hydraulic drive).
$ $ view shopping cart checkout now. Many times when you purchase the belt the parts store. International trucks service manuals pdf, workshop manuals, wiring diagrams, schematics circuit diagrams, fault codes and trouble codes free download. And i have my backside protected with a.
What size belt does the huskee supreme slt 4600h need? Home > all brands > huskee lawn and garden > huskee lawn tractors > huskee 13an77ss231 (lt4200) (2019) lawn tractor. User manual, service manual, illustrated parts & service map. My one year old huskee lawn.
East aurora, new york, usa delivery to: It appears that the belt is loose even when engaged. It is easy and free. Changing the deck belt on the huskee it4200 lawn mower involves working around the spring and 2 belt drive guides in the motor area.
867 x 1122 gif 56 кб. The model number is 13at688h731. Need belt diagram for 4600lt riding mover. Can believe all the bad reviews i'm reading i bought my huskee lt 4200 riding mower from tsc when we purchased our house with 1 1/2 acres in 2013.
I'm sorry if this is in the wrong place but i have a huskee lt4200 and i'm having an issue. Can anyone provide a picture of the top of mowing deck on a huskee lt4200,belts and tension springs? Belt diagram for a 46 cut huskee mower. I replaced the mower deck belt to the drive spindle according to instructions.
I need help trying to replace belts on a huskee mower. Huskee lt4200 belt diagram — untpikapps. Discussion in 'mtd' started by scheuvront1993, may 24, 2016. Download lt4200 huskee manual for free.
We are rated extremely high for a volume dealer but nothing we sell is perfect. Drive belts replaced huskee lt4200 drive belts replaced huskee lt4200 pinballman1 huskee 16 5hp 42 cut drive belt snapped duration 4 09 huskee slt 4600 parts diagram • downloaddescargar.com. Do you know how to put the 3rd one on? The john deere 48 mower deck belt pattern diagram can be obtained from most john deere dealerships.

















