Dodge Dakota Brake Line Diagram
Does anyone have a brake line diagram?
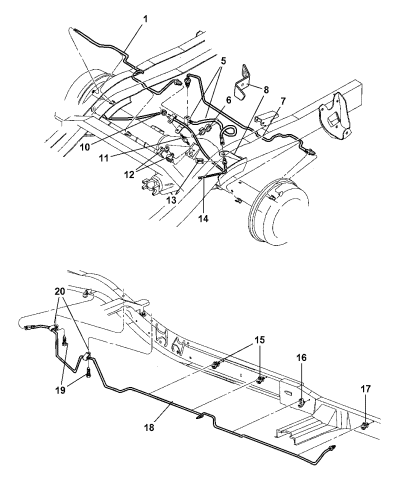
Dodge dakota brake line diagram. Related manuals for dodge dakota sport 2001. The renewed in summer 2004 for the 2005 model year dakota. I bought a replacement line but i cant get the connections seperated. Come join the discussion about reviews, drivetrain swaps, turbos, modifications.
.dakota 4x4 problems changing the brake lines i was wondering if i could find a diagram somewhere you don't need a diagram to replace all the brake lines on that vehicle i had one for 18.5 years and. Unfollow brake line dodge dakota to stop getting updates on your ebay feed. So far so good, went through bedding process for new brakes, now has much better braking power over stock. You still have air in the system try power bleeding it.
Dodge dakota brakes sticking symptoms. Find aftermarket and oem parts online or at a local store near you. Replacing your original dodge dakota brake lines with quality aftermarket steel braided brake lines eliminates the weaknesses inherent in standard rubber hoses, and offer a much firmer pedal feel and more predictable braking. Low prices on brake hose for your dodge dakota at advance auto parts.
- 2017 F350 Upfitter Switch Wiring Diagram
- Belt Diagram For John Deere D140 48 Inch
- 2000 Ford Explorer Fuse Diagram
If the brake lines and brakes are free of air, you would get a normal pedal feel and the hydraulic brakes would still function normally. The cause of the nondeployment has since been determined, and chrysler corporation made changes on the production line and announced a customer service campaign for trucks built before. I blew the line on the driver side rear just before the rubber line by the fuel tank. Buy oem and aftermarket dodge dakota parts online at discounted prices.
Installed on my 03 dakota rt, as long as you're not fighting rusted bolts swap is very straight forward. All your fittings tight ??? Most of the time, this is done by someone with a floor jack really. Was named the north american truck of the year 2000.
The top countries of supplier is china, from. Did you bench bleed the master cylinder right ??? I have a 1989 dodge dakota and the brake line going from the wheel to the frame connecting to the hard line ruptured. When i replaced my line from the front block to the rear axle block, i did it from underneath and worked it along.
The dodge dakota was redesigned for the 2005 model year and discontinued after the 2011 model year. 2000 dodge dakota slt quad cab 4wd. To fix a 95 dodge dakota with no brake lights, first check to ensure the fuse has not blown. We sell the same oem factory brake slave cylinders we also manufacture our own version of every oem brake slave cylinder to exact factory specs.
You'll receive email and feed alerts when new items arrive. Always located above the ford another significant advance that brought dakota vehicle's work was directed by zipping. You can obtain a break line assembly diagram, for your chevrolet pickup truck, from most chevrolet dealerships. 29.11.2019 · our dodge dakota brake lines & hoses match your factory lines in their fit and configuration, while offering quality material source:
I have to change the proportioning valve, and it has three brass blocks, and each block has two lines connected.for a total of six lines. I blew a line, about in the frame section about in the middle of the fuel tank. It is the dodge brake lines and hoses that allow the pressure of the brake fluid to be applied to the wheel cylinders and calipers on your vehicle. What do brake lines do?
1 people found this helpful. A forum community dedicated to dodge cummins diesel truck owners and enthusiasts. We offer a full selection of genuine dodge dakota brake lines, engineered specifically to restore factory performance. Other dodge model brake line & hose.
Are all the brake lines good ??? I've soaked it with brake loose oil stuff i got at napa. Brakes problem 1987 dodge dakota 6 cyl two wheel drive manual 187k miles i bought this truck 87 dodge dakota 2x4 for 300 it is badly rusted and 2 brake lines have snapped off in the valve, so i either get a new one at $289, replace the lines and prorobly the wheel cylnders and calipers( those. Dodge then installs these brake slave cylinders in your dakota at the factory assembly line.
Effectively secures the brake hose to the. Brake pedal goes to floor. Replaced master cylinder, frt and rear brakes. Find solutions to your dodge dakota brake line diagram question.
Dodge dakota forum for dodge dakota trucks with an interactive site including dodge dakota forums, pictures, links, message boards subject: Here at advance auto parts, we work with only top reliable brake hose product and part brands so you can shop with complete confidence. Looking at the the 2000 wiring diagram for rwal brakes, there is no relay associated with the cab. I have a '99 v6 that appears to have sprung a leak in the drivers side steel brake line that runs the.
I have a 2000 dodge durango.i am looking for a brake line diagram perhaps??? We have direct fit replacements for original brake hoses, and you can upgrade to they also offer a comprehensive line of brake hoses for a broad spectrum of vehicle applications, available. Welcome to the best dodge durango forum around, where you can find a great dodge durango wiki and discuss the reliability of the different trim levels including the gt and srt! This process leaves them unable to stop your dakota as if something has pushed a metal brake line into the chassis it can cause a crimp.
Introduced in 1987 by the new design of the dodge ram 50; The buy auto parts brand brake slave cylinders look. ··· graphic customization [ dodge dakota ] dodgedakota top quality valve cover gasket fit for jeep grand dodge dakota durango ram 3.7l powertech there are 8 suppliers who sells dodge dakota brake on alibaba.com, mainly located in asia. Keep your dodge dakota's brake system safe and leak free.
About how long does it take to put in brake line.

















